住宅建筑电气安装图集-29.pdf 免费下载

内容介绍
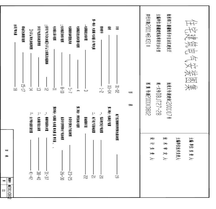
住宅建筑电气安装图集-29资料下载,喜欢的朋友可以下载收藏!
第一页预览图:

第二页预览图:

下载大全_ 属于居住建筑分类,居住建筑包含大量与居住建筑相关图纸,提供给友下载,更多居住建筑相关图纸请访问。
距离会员到期还有其他人还搜了建筑电气安装工程图集最新版 建筑电气安装图集 建筑电气安装工程图集 建筑电气安装图集目录 建筑电气安装图集多多文库 住宅建筑电气安装规范 建筑电气安装图集下载 建筑电气安装标准图集 民用建筑电气安装图集 建筑电气安装图集大全 建筑电气桥架安装规范 建筑电气安装工程施工图集 建筑电气安装工程图集下载 建筑电气通用图集最新版 建筑电气安装 民间建筑电气设计与施工 建筑电气安装工程图集第二版 电气装置安装工程以下 建筑电气安装施工工艺 建筑电气安装规范标准 建筑电气安装工程方案 建筑电气安装规范 建筑电气图集大全 民用建筑电气设计与施工图集 最新民用建筑电气设计规范
【】施工图纸下载大全 b下载_文档下载统一文号DBJ图集号 全集rr下载久久 版权:会员大小:MB语言:简体中文简介:此文件为,其中包括设计说明,主要设备材料表,人防地下室设计说明,人防地下室配电系统图,标准层插 点击下载 。
2008年硕士研究生入学考试数据结构与C语言程序设计(991)试题与

2008年硕士研究生入学考试数据结构

点击量:5次

2住宅建筑门厅设计研究
3排水沟图集 07J306
4住宅产业化中的标准化研究
5建筑电气专业设计技术措施(北京市建筑设计研究院
6建筑结构设计比选和住宅造价成本控制的研究
7[民用与工业建筑各类水泵自动控制图集].庞传贵李
8建筑工程各类水泵电气控制图集
9建筑工程各类水泵电器控制图集
10绿色建筑住宅小区的建造成本增量控制分析
1108D800-4_民用建筑电气设计与施工_照明控制与灯具
12施工质量控制论文:建筑太阳能一体化施工技术在多
13DGJ32J16-2005 住宅工程质量通病控制标准
14住宅建筑设计原理00001
153.《住宅建筑设计原理》(第二版)朱昌廉主编
16建筑电气工程设计常用图形和文字符号00DX001
1700DX001建筑电气工程设计常用图形和文字符号
1800DX001_建筑电气工程设计常用图形和文字符号
1909DX001_建筑电气工程设计常用图形和文字符号 (1)
20_建筑电气工程设计常用图形和文字符号
21建筑电气工程设计常用图形和文字符号
2209DX001建筑电气工程设计常用图形和文字符号
23PPT_图集(适用于老师制作课件).ppt_
24自助旅游香港地图集
25建筑安装工程施工图集 (第二版) 2 冷库通风空调工
26建筑安装工程施工图集(第二版)1 消防、电梯、保
27建筑安装工程施工图集(第二版)3 电气工程
28建筑安装工程施工图集(第二版)4给水+排水卫生+煤
29建筑安装工程施工图集(第二版)6弱电工程
30建筑安装工程施工图集(第二版)8管道工程
31建筑安装工程施工图集(第一版) 5 采暖、水处理、
32建筑安装工程施工图集(第二版)05 采暖、水处理
3305J910-2 钢结构住宅(二)
34万科住宅建筑构造图集(二)20110919
35建筑安装工程施工图集(第二版)01 消防、电梯、
36建筑安装工程施工图集(第二版)08 管道工程
37建筑安装工程施工图集(第二版)03 电气工程