2001XD802 住宅建筑电气安装图集.pdf 免费下载

内容介绍
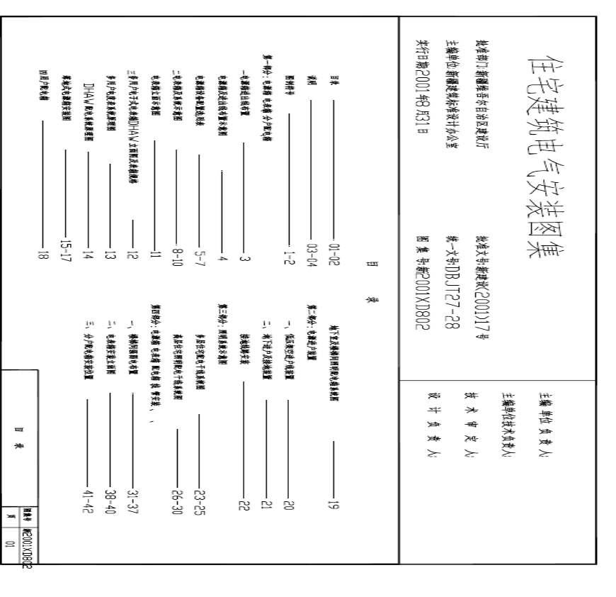
2001XD802 住宅建筑电气安装图集资料下载,喜欢的朋友可以下载收藏!
第一页预览图:

第二页预览图:

新全套 新全套 PDF 上传日期: :: 页数: 上传日期: :: | 该用户还上 # b{:r}#rr:x;brr:x #;brrr:#;x r{:b}#r:x #;brrr:;:x;:x; r{ ,#rr {:r;x b;:x;: x;r:#;:x;br:rb(,,,)}#{: x;:}#r{r r{:x;r:;:b;:}#,#{:b;:;b:;:%}#{:x;:x;x x ;brb(r(:b) x,r(:) x)}#r:x;: :x}#{:b}#{xb:x}#,#{:; r:x}#x{brrb:x #}#r{r:#;x b{:x;:r;brr:x #;r:x }#{:%;r br:#}# { b:}# {:b;:x;r:x}#r{:b;:}#rb,#r,#r {:}#rb{r:#;::x;br:r::x r;brx}#r{r b {::r(':');brr::r;:r;:x}#rr:#}#b r {rr:x}# {:r }#r:x;:r;r:;r:}#r {:b;bxr:#}# x{brx ;:x}#rr:r(':b')}#b r r:}#x:}#{r : : :x}# x:{brx :x}#r:: %;br x:} _图片 :x;::} r:x;::} r{::;x {r:} {x x{r 学习资料页 J 纶肪廿 实行曙圆集母前目录目 xb 学习资料页 新( 学习资料页 图集 新(原创力文档 xb- 。
2008年硕士研究生入学考试数据结构与C语言程序设计(991)试题与

2008年硕士研究生入学考试数据结构

点击量:5次

2住宅建筑门厅设计研究
3排水沟图集 07J306
4住宅产业化中的标准化研究
5建筑电气专业设计技术措施(北京市建筑设计研究院
6建筑结构设计比选和住宅造价成本控制的研究
7[民用与工业建筑各类水泵自动控制图集].庞传贵李
8建筑工程各类水泵电气控制图集
9建筑工程各类水泵电器控制图集
10绿色建筑住宅小区的建造成本增量控制分析
1108D800-4_民用建筑电气设计与施工_照明控制与灯具
12施工质量控制论文:建筑太阳能一体化施工技术在多
13DGJ32J16-2005 住宅工程质量通病控制标准
14住宅建筑设计原理00001
153.《住宅建筑设计原理》(第二版)朱昌廉主编
16建筑电气工程设计常用图形和文字符号00DX001
1700DX001建筑电气工程设计常用图形和文字符号
1800DX001_建筑电气工程设计常用图形和文字符号
1909DX001_建筑电气工程设计常用图形和文字符号 (1)
20_建筑电气工程设计常用图形和文字符号
21建筑电气工程设计常用图形和文字符号
2209DX001建筑电气工程设计常用图形和文字符号
23PPT_图集(适用于老师制作课件).ppt_
24自助旅游香港地图集
25建筑安装工程施工图集 (第二版) 2 冷库通风空调工
26建筑安装工程施工图集(第二版)1 消防、电梯、保
27建筑安装工程施工图集(第二版)3 电气工程
28建筑安装工程施工图集(第二版)4给水+排水卫生+煤
29建筑安装工程施工图集(第二版)6弱电工程
30建筑安装工程施工图集(第二版)8管道工程
31建筑安装工程施工图集(第一版) 5 采暖、水处理、
32建筑安装工程施工图集(第二版)05 采暖、水处理
3305J910-2 钢结构住宅(二)
34万科住宅建筑构造图集(二)20110919
35建筑安装工程施工图集(第二版)01 消防、电梯、
36建筑安装工程施工图集(第二版)08 管道工程
37建筑安装工程施工图集(第二版)03 电气工程